Van cầu VF20 là một trong những dòng van chất lượng cao do Valsteam ADCA sản xuất, được ứng dụng phổ biến trong nhiều hệ thống hơi, khí và chất lỏng công nghiệp. Để đảm bảo sản phẩm hoạt động hiệu quả, an toàn và đạt tuổi thọ tối đa, Công ty TNHH Kỹ Thuật Space – nhà nhập khẩu ủy quyền của Valsteam ADCA chính hãng tại Việt Nam – xin gửi đến Quý khách hướng dẫn lắp đặt và bảo trì van cầu VF20 dưới đây.
Nội dung
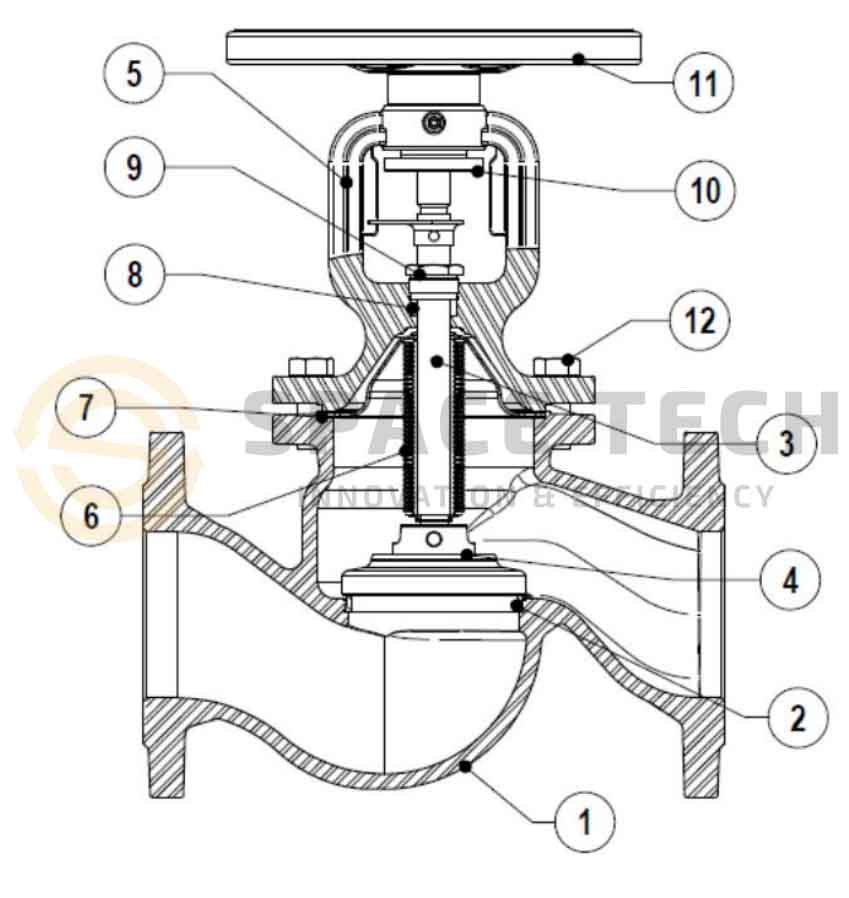
1. Tổng quan
Trước khi thực hiện bất kỳ công việc nào liên quan đến sản phẩm của Valsteam ADCA, cần đọc kỹ hướng dẫn này để đảm bảo an toàn và vận hành đúng cách.
Cảnh báo an toàn:
2. Lắp đặt
Để quá trình lắp đặt van cầu VF20 diễn ra an toàn và hiệu quả, cần thực hiện các bước sau:
|
|
|
|

3. Bảo trì
Van cầu ADCA VF20 được thiết kế với độ bền cao, không yêu cầu bảo trì đặc biệt. Tuy nhiên, trong quá trình sử dụng, có thể phát sinh một số tình huống cần lưu ý:
|
|
Cách xử lý khi bảo trì hoặc thay thế:
|
|
|
|
Để biết thêm chi tiết kỹ thuật, vui lòng tham khảo tờ thông tin (IS) liên quan hoặc liên hệ với bộ phận kỹ thuật Space Tech để được hướng dẫn cụ thể.
4. Chứng nhận CE (PED – Chỉ thị 97/23/EC)
-
Áp suất danh định (PN): 16 bar
-
Kích thước danh nghĩa (DN): 15 đến 50 – Loại SEP (theo điều 3, khoản 3)
-
DN65 đến DN200: Loại 1 – Có dấu chứng nhận CE
Điều này khẳng định van cầu VF20 đáp ứng đầy đủ tiêu chuẩn an toàn châu Âu (PED 97/23/EC), đảm bảo khả năng vận hành ổn định trong môi trường công nghiệp áp suất cao.
5. Lưu ý bảo hành
Việc không tuân thủ đúng các hướng dẫn lắp đặt và bảo trì nêu trên có thể làm mất toàn bộ hoặc một phần quyền bảo hành sản phẩm.
Space Tech – nhà nhập khẩu ủy quyền của Valsteam ADCA chính hãng tại Việt Nam – cung cấp đầy đủ các dòng sản phẩm ADCA, đặc biệt là dòng ADCAPure. Chúng tôi không chỉ cung cấp thiết bị mà còn tư vấn giải pháp tổng thể, thiết kế hệ thống, hỗ trợ lựa chọn sản phẩm phù hợp, và đảm bảo dịch vụ hậu mãi chuyên sâu cho các nhà máy sản xuất, nhà thầu EPC và đơn vị tư vấn thiết kế.
Việc lắp đặt và bảo trì đúng quy trình không chỉ giúp van cầu VF20 hoạt động bền bỉ, ổn định mà còn góp phần nâng cao hiệu quả hệ thống hơi – khí – nước trong nhà máy. Space Tech luôn đồng hành cùng Quý khách hàng trong từng giai đoạn – từ tư vấn kỹ thuật, lựa chọn thiết bị đến hỗ trợ vận hành và bảo hành lâu dài.
.
Thông tin liên hệ:
Hotline: 0876 760 690
Zalo OA: https://zalo.me/4045259366527462577
Fanpage: SPACE TECH – Chuyên Gia Tiết Kiệm Năng Lượng
Email: online@space-tech.vn




